Jump to navigation
8 912 998 96 62
ttgroup72@mail.ru
Товаров в корзине: 0
О компании
Каталог
Вездеходы ТМ-140
Статьи
Сервис
Контакты
Т170 Б10
Подробный каталог
Общий каталог
Щитки (101)
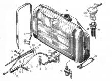
Установка бензобака пускового двигателя
Установка топливного бака
Установка гидравлической системы
Установка передних трубопроводов и передних гидроцилиндров
Установка рукавов управления задним механизмом навески
Установка трубопроводов управления задним механизмом навески болотоходных тракторов
Баки гидросистемы
Фильтр гидросистемы
Установка привода насоса
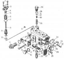
Распределитель. Крышка верхняя с деталями
Корпус распределителя
Крышка нижняя с деталями и золотник
Установка рычагов гидрораспределителя
Насос шестеренный НШ100А-3Л
Детали насоса
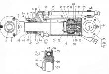
Цилиндр (установленный спереди трактора)
Цилиндр задней навески
Механизм навески
Тяга центральная
Установка механизма навески
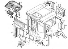
Установка отопителя кабины
Установка вентилятора кабины
Установка кожухов
Прицепное устройство
Капот
Установка утеплительных чехлов
Гидравлическая система управления трактором
Насос шестеренный
Вентилятор-Пылеотделитель
Установка кабины
Кабина (132)
Страницы
«
‹
…
4
5
›
»