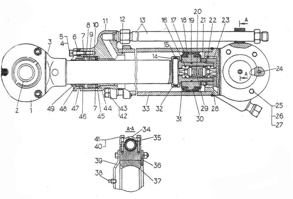
Цилиндр (установленный спереди трактора)

ООО "Трейдтрансгрупп" предлагает запчасти для спецтехники Т-170 Б10
| Позиция на рисунке | Артикул | Наименование | Цена | |
|---|---|---|---|---|
| 33 | 18-26 271СП | Корпус | дог. | |
| 3 | 18-26-272СП | Шток | дог. | |
| 13 | 18-26-273СП | Труба | дог. | |
| 28 | 37-26-207СП | Клапан | дог. | |
| — | 18-26-270СП | Цилиндр | дог. | |
| 6 | 261255 | Прокладка | дог. | |
| 49 | 261245 | Скребок | дог. | |
| 44 | 26879 | Втулка | дог. | |
| 37 | 26866 | Сухарь | дог. | |
| 2 | 26865 | Сфера | дог. | |
| 48 | 26416 | — | дог. | |
| 47 | 26415 | — | дог. | |
| 46 | 26414 | Чистик | дог. | |
| 11 | 37-26-219СП | Крышка | дог. | |
| 30 | 37-26-208СП | Поршень | дог. | |
| 1 | 26859 | Крышка | дог. | |
| 7 | 31482 | Шайба | дог. | |
| 20 | 38350 | Пружина | дог. | |
| 35 | 40564 | Прокладка | дог. | |
| 14 | 37-26-118 | Втулка | дог. | |
| 39 | 37-26-133 | Крышка | дог. | |
| 34 | 37-26-131-1 | Бугель | дог. | |
| 31 | 37-26-126 | Упор | дог. | |
| 32 | 37-26-119 | Палец | дог. | |
| 29 | 37-26-117 | Проставка | дог. | |
| 36 | 37-26-134 | — | дог. | |
| 18 | 700-40-6082, 700-40-6093 | Кольцо | дог. | |
| 21 | 700-41-2887 | Гайка | дог. | |
| 23 | 700-41 2888 | — | дог. | |
| 45 | 700-58-2191 | Кольцо | дог. | |
| 15 | 700-48-2340 | — | дог. |
