Управление механизмами поворота, сцеплением и тормозами (кронштейн рычагов) 50

ООО "Трейдтрансгрупп" предлагает запчасти для спецтехники МТЛБ
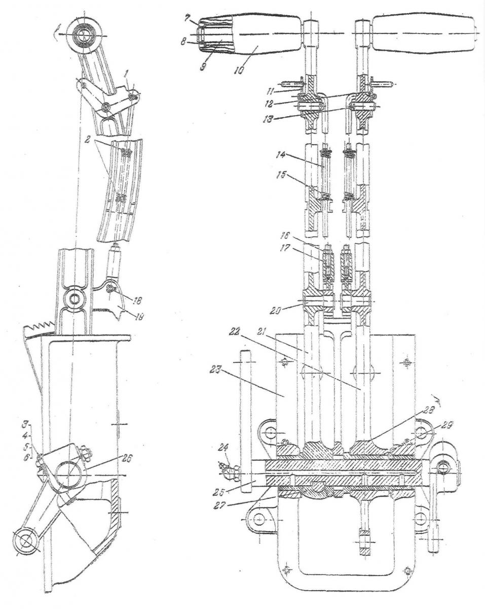
| Позиция на рисунке | Артикул | Наименование | Цена | |
|---|---|---|---|---|
| 24 | МII-А-45 | Масленка II-А-45 (ГОСТ 1303—56) | дог. | |
| 23 | 8.22.012 | Кронштейн рычагов с сектором к втулкам | дог. | |
| 22 | 8.22.013 | Рычаг управления правый в сборе | дог. | |
| 12 | 8.22.016 | Защелка правая | дог. | |
| 11 | 8.22.017 | Защелка левая. | дог. | |
| 25 | 8.22.015 | Валик рычагов управления в сборе | дог. | |
| 27 | 8.22.103 | Рычаг управления левый | дог. | |
| 21 | 8.22.014 | Рычаг управления левый в сбора | дог. | |
| 28 | 8.22.104 | Рычаг управления правый | дог. | |
| 14 | 8.22.113 | Тяга собачки | дог. | |
| 9 | А-40-9А | Палец рукоятки | дог. | |
| 8 | А40—28 | Шайба рукоятки | дог. | |
| 26 | 8.22.108 | Рычаг | дог. | |
| 26 | 822.108 | Рычаг | дог. | |
| 20 | 5.22.109 | Палец собачки | дог. | |
| 11 | 8.22.011 | Защелка левая | дог. | |
| 1 | Ш-1,6X12 | Шплинт | дог. | |
| 7 | 34.05.439 | Кольцо стопорное | дог. | |
| 25 | 8.22.106* | Рычаг | дог. | |
| 25 | 8.22.107* | Вадик рычагов управления | дог. | |
| 12 | 8.22.119* | Защелка правая. | дог. | |
| 11 | 3.22.118* | Защелка левая | дог. |
