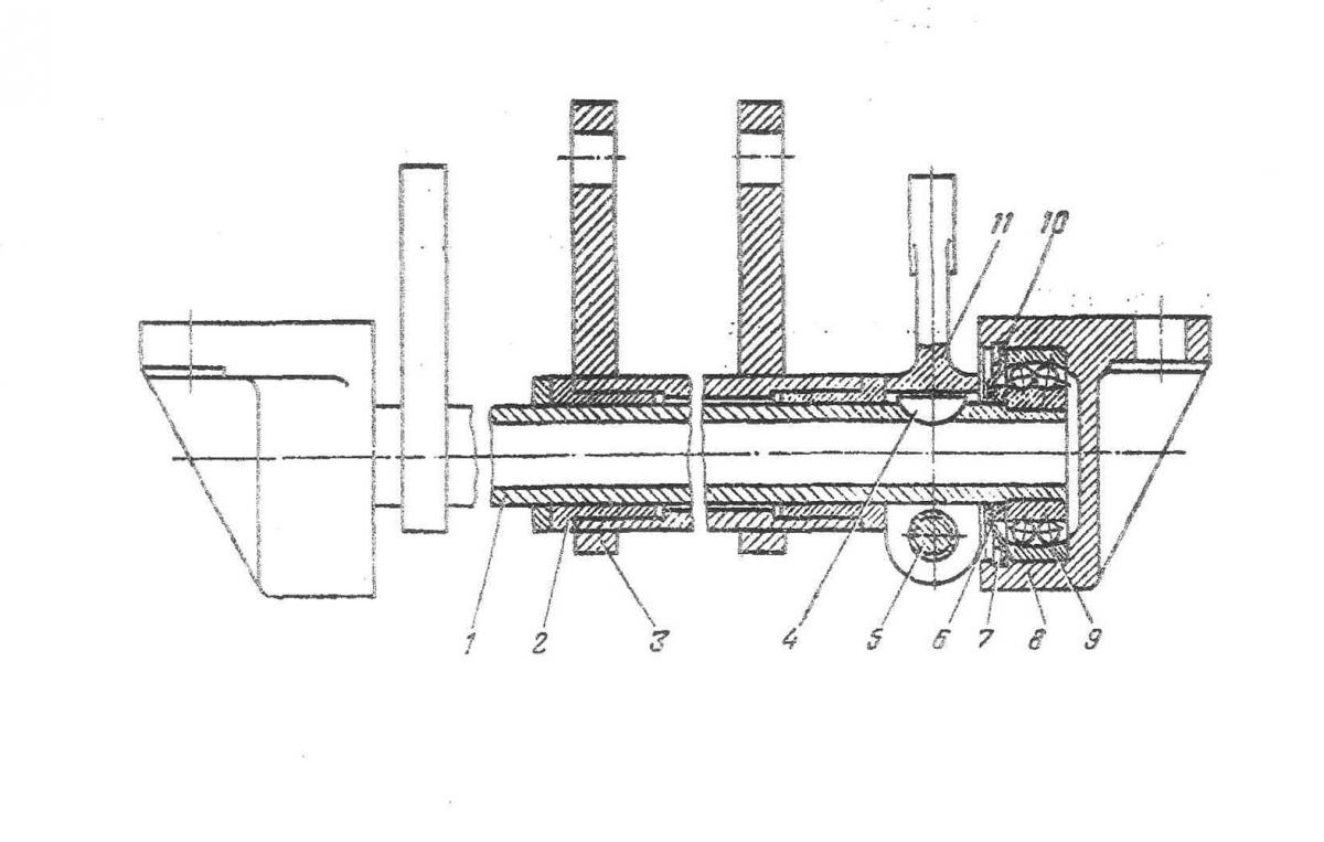
Управление лебедкой (вал длинный в сборе) 62

ООО "Трейдтрансгрупп" предлагает запчасти для спецтехники МТЛБ
| Позиция на рисунке | Артикул | Наименование | Цена | |
|---|---|---|---|---|
| 4 | ШВ-4Х56 | Шпонка | дог. | |
| 3 | 8.25.010 | Вал управления лебедкой | дог. | |
| 10 | 8.21.164 | Шайба защитная | дог. | |
| 7 | 8.21.163 | Кольцо ВЭ-47 | дог. | |
| 3 | 8.25.101 | Кронштейн валика | дог. | |
| 11 | 8.25.109 | Рычаг | дог. | |
| 1 | 8.25.013 | Вал длинный с рычагом | дог. | |
| 6 | 8.21.166 | Сальник | дог. | |
| 3 | 8.25.103* | Труба | дог. | |
| 1 | 8.25.105* | Вал длинный | дог. | |
| 1 | 8.25.125* | Кольцо | дог. | |
| 5 | БНП-М10X25 | Болт | дог. | |
| 4 | ШБ-4Х15 | Шпонка | дог. | |
| 15 | В2-М6Х25 Ц9 Хр | Винт | дог. |
