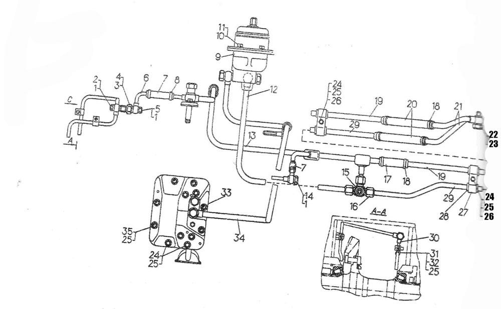
Система смазки трансмиссии

ООО "Трейдтрансгрупп" предлагает запчасти для спецтехники Т-170 Б10
| Позиция на рисунке | Артикул | Наименование | Цена | |
|---|---|---|---|---|
| 10 | 2816 | Болт | дог. | |
| — | 20-60-3СП | Система смазни трансмиссии болотоходных тракторов | дог. | |
| 21 | 21-09-115СП | — | дог. | |
| — | 24-60-1 СП | Система смазки трансмиссии | дог. | |
| 9 | 24-60-111 СП | Фильтр | дог. | |
| 6 | 24-60-144СП | Труба | дог. | |
| 16 | 41823 | Гайка накидная | дог. | |
| 30 | 24-60-151СП | Труба | дог. | |
| 31 | 084 1 4 | Скоба | дог. | |
| 29 | 50-60-22 7 СП | — | дог. | |
| 19 | 50-60-229 | Труба | дог. | |
| 8 | 700-41-2235СП, 700-41-2235-01СП | Хомут | дог. | |
| 5 | 700-41-2974 | Штуцер | дог. | |
| 3 | 700-41-2976 | Ииппель | дог. | |
| 14 | 700-41-3248 | Зажим | дог. | |
| 1 | 700-41-3249 | Штуцер | дог. | |
| 17 | 700-46-2185 | Рукав | дог. | |
| 18 | 700-41-2235-04СП, 700-41-2235-05СП | Хомут | дог. |
