Сцепление

ООО "Трейдтрансгрупп" предлагает запчасти для спецтехники ГАЗ-34039
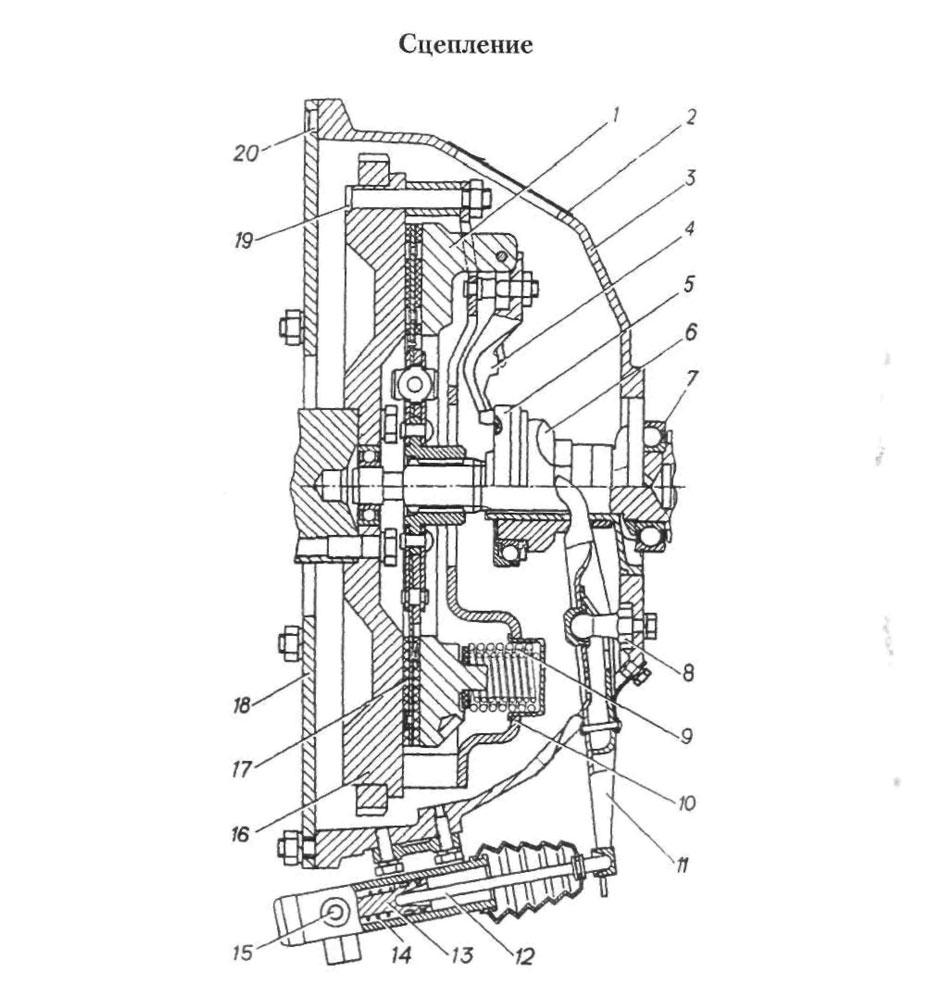
| Позиция на рисунке | Артикул | Наименование | Цена | |
|---|---|---|---|---|
| 1,4,7,9,10,16,17,18,19 и 20 | - | Двигатель | дог. | |
| 2 | 52-1601022 | Крышка люка | дог. | |
| 3 | 34036-1601015 | Картер сцепления | дог. | |
| 5 | 986714К11С17 | Подшипник | дог. | |
| 6 | 34039-1601185 | Муфта выключения сцепления | дог. | |
| 8 | 11-7576 | Опора вилки | дог. | |
| 11 | 34039-1601202 | Вилка выключения сцепления | дог. | |
| 12 | 73-1602522 | Толкатель | дог. | |
| 13 | 73-1602514 | Поршень рабочего цилиндра | дог. | |
| 14 | 21-1712021 | Пружина | дог. | |
| 15 | 40П-3501048-01 | Клапан перепускной | дог. |
