ПРОВОДА КАБИНЫ 533-9-62-3-501-1К 198

ООО "Трейдтрансгрупп" предлагает запчасти для спецтехники МКСМ
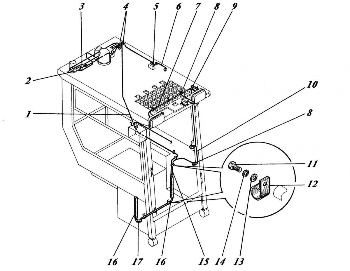
| Позиция на рисунке | Артикул | Наименование | Цена | |
|---|---|---|---|---|
| 1 | 533-9-62-33-506-1К | Жгут 5 | дог. | |
| 2 | 533-9-62-33-515-1К | Провод 20 | дог. | |
| 15 | 533-9-62-33-503-1К | Жгут 1 | дог. | |
| 16 | 1-ЗС 20x2.0 | Трубка L=260mm | дог. |
