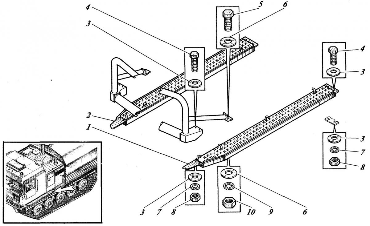
Корпус ТМ140-50-сб1 (установка подножек)

Купить запчасти для корпуса ТМ140-50-сб1 (установка подножек) вы можете в компании ООО «ТрейдТрансГрупп». Запчасть подходит для спецтехники ТМ 140 и обеспечивает стабильную работу даже при высокой нагрузке. Предлагаем качественные комплектующие, помощь в подборе и доставку по всей России.
| Позиция на рисунке | Артикул | Наименование | Цена | |
|---|---|---|---|---|
| 1 | ТМ140-50-сб167 | Подножка левая | дог. | |
| 2 | ТМ140-50-сб124 | Подножка правая | дог. | |
| 3 | 11371 10.01.0118 | Шайба | дог. | |
| 4 | 7796 M10-6gx30.46.019 | Болт | дог. | |
| 5 | 7796 M16xl,5-6gx40.88.38XC019 | Болт | дог. | |
| 6 | 11371 16.01.0118 | Шайба | дог. | |
| 7 | 6402 10.ОТ.65Г.06 | Шайба | дог. | |
| 8 | 5915 М10-6Н.6.019 | Гайка | дог. | |
| 9 | 6402 16.ОТ.65Г.06 | Шайба | дог. | |
| 10 | 5915 М16х1,5-6Н.6.019 | Гайка | дог. | |
| 6 | 11371 16.01.0118 или | Шайба | дог. | |
| 1 | ТМ140-50-сб167 | Подножка левая | дог. | |
| 2 | ТМ140-50-сб124 | Подножка правая | дог. | |
| 5 | 7796 M16xl,5-6gx40.88.38XC019 | Болт | дог. |
