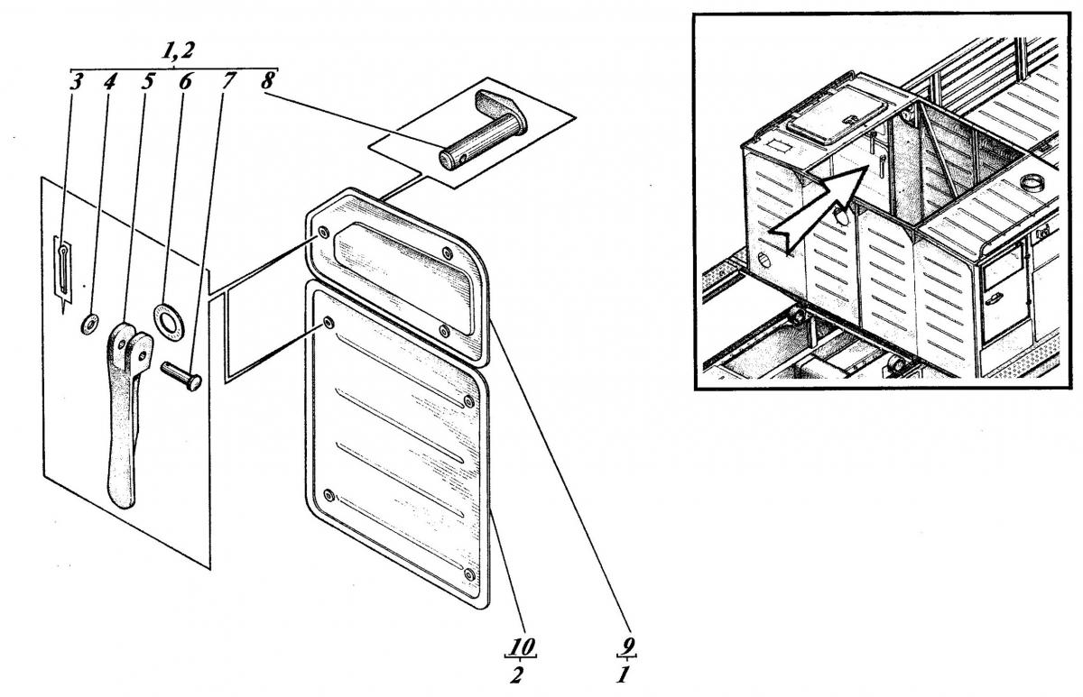
КОРПУС ТМ140-50-сб1 (установка крышек) 12

Купить запчасти для корпуса ТМ140-50-сб1 (установка крышек) 12 вы можете в компании ООО «ТрейдТрансГрупп». Запчасть подходит для спецтехники ТМ 140 и обеспечивает стабильную работу даже при высокой нагрузке. Предлагаем качественные комплектующие, помощь в подборе и доставку по всей России.
| Позиция на рисунке | Артикул | Наименование | Цена | |
|---|---|---|---|---|
| 1 | ТМ140-50-сб147 | Крышка | дог. | |
| 2 | ТМ140-50-сб149 | Крышка | дог. | |
| 5 | 688-46-216 | Рукоятка | дог. | |
| 7 | 700-47-217 | Валик с головкой | дог. | |
| 8 | ТМ140-50-281 | Зажим | дог. | |
| 9 | ТМ140-50-сб148 | Крышка | дог. | |
| 10 | ТМ140-50-сб150 | Крышка | дог. |
