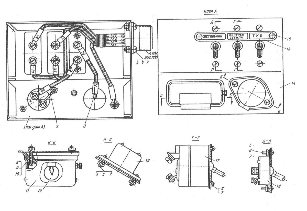
Электрооборудование (монтаж щитка и щиток в сборе) 184

ООО "Трейдтрансгрупп" предлагает запчасти для спецтехники МТЛБ
| Позиция на рисунке | Артикул | Наименование | Цена | |
|---|---|---|---|---|
| 11 | ЗДБ.529.056 | Фонарь КЛСТ-64 | дог. | |
| 11 | 3ДБ.529.056* | Фонарь КЛСТ-64 | дог. | |
| 8 | В2-МЗХ22 Ц9 Хр | Винт | дог. | |
| 5 | Г-М4 Ц12 Хр. | Гайка | дог. | |
| 4 | 6.50.085 | Жгут проводов | дог. | |
| 2 | А5.50.161 | Перемычка | дог. | |
| 1 | 6.50.018 | Щиток в сборе | дог. | |
| 14 | 6.50.019 | Корпус щитка в сборе | дог. | |
| 15 | 6.50.112 | Табличка | дог. | |
| 3 | 6.50.598 | ЛПРГС | дог. | |
| 3 | 6.50.698 | Провод | дог. | |
| 13 | 2БК.664.000 | Розетка штепсельная ШР51 | дог. | |
| 14 | 6.50.111* | Панель щитка | дог. | |
| 15 | 6.50.146* | Основание щитка | дог. |
