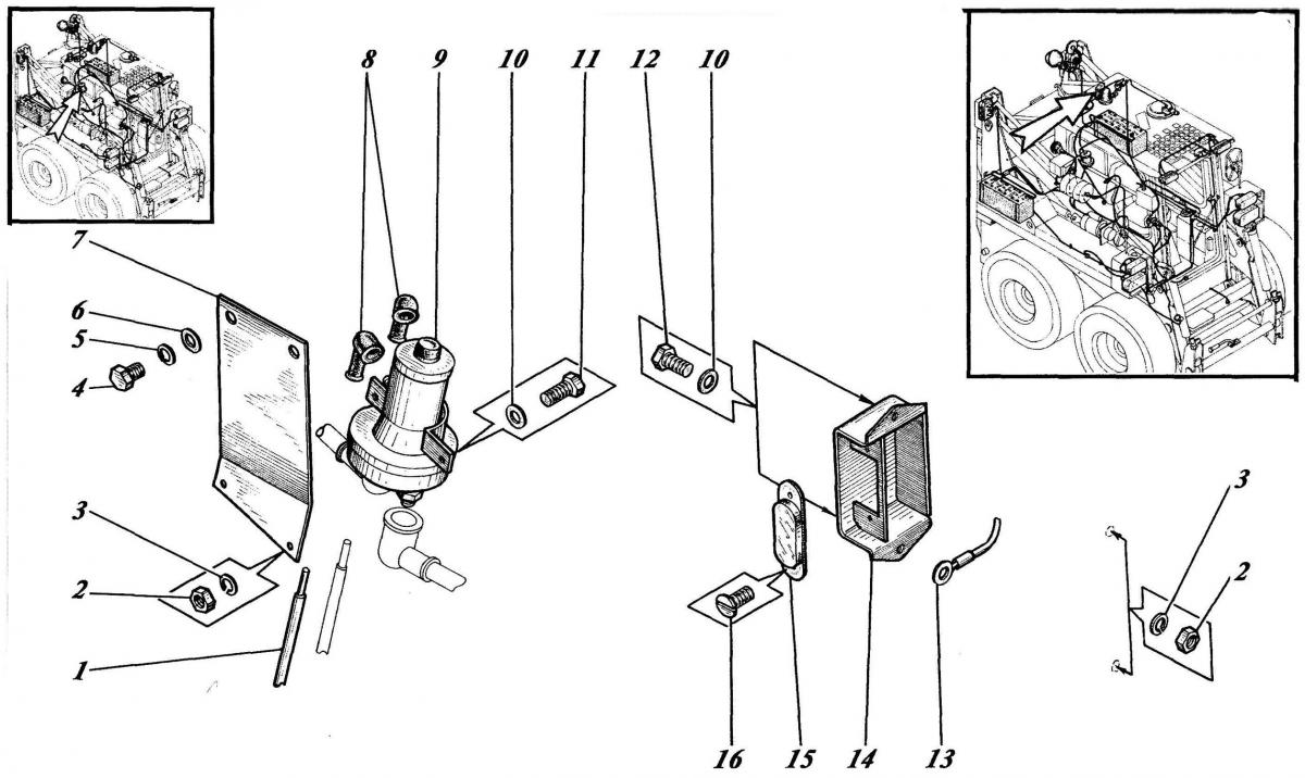
ЭЛЕКТРООБОРУДОВАНИЕ 533-9-62-33-500-1К 194

ООО "Трейдтрансгрупп" предлагает запчасти для спецтехники МКСМ

Позиция на рисунке Артикул Наименование Цена