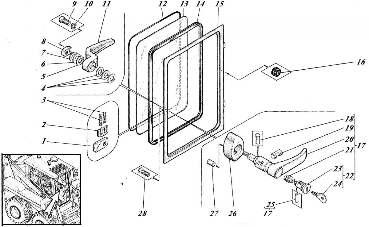
ДВЕРЬ 533-9-62-81-1054-1К 26

Купить запчасти для ДВЕРИ 533-9-62-81-1054-1К 26 вы можете в компании ООО «ТрейдТрансГрупп». Запчасть подходит для спецтехники МКСМ и обеспечивает стабильную работу даже при высокой нагрузке. Предлагаем качественные комплектующие, помощь в подборе и доставку по всей России.
| Позиция на рисунке | Артикул | Наименование | Цена | |
|---|---|---|---|---|
| 2 | 533-0-62-81-1067-1К | Скоба | дог. | |
| 3 | 533-0-62-81-1068-1К | Пружина | дог. | |
| 4 | 700-40-140 | Прокладка | дог. | |
| 1 | 533-0-62-81-793-1К | Палец | дог. | |
| 14 | 533-0-62-81-941-1К | Профиль двери | дог. | |
| 19 | 533-0-62-81-1026-1К | Фиксатор | дог. | |
| 18 | 10299 3x8.01 | Заклепка | дог. | |
| 17 | 533-9-62-81-1022-1К | Ручка с замком | дог. | |
| 16 | 533-0-62-81-961-1К | Кольцо | дог. | |
| 15 | 533-0-62-81-963-1К | Рама двери | дог. | |
| 13 | 533-0-62-81-786-1К | Стекло двери | дог. | |
| 12 | 533-0-62-81-940-1К | Вкладыш уплотнителя | дог. | |
| 11 | 533-0-62-81-966-IK | Ручка внутренняя | дог. | |
| 9 | 1491 M4-6gx8.66.016 | Винт | дог. | |
| 8 | 533-0-62-81-967-1К | Гайка | дог. | |
| 7 | 700-40-161 | Прокладка | дог. | |
| 6 | 700-40-159 | Прокладка | дог. | |
| 20 | 533-0-62-81-1024-1К | Ручка наружная | дог. | |
| 21 | 533-0-62-81-1025-1К | Эксцентрик | дог. | |
| 25 | 2.2 и 8x10 | Штифт | дог. | |
| 26 | 533-0-62-81-1023-1К или | Фланец | дог. | |
| 27 | 2.5 и 8x14 | Штифт | дог. |
