БЫСТРОЗАЖИМ 533-9-62-25-130-1-01К 39

Купить запчасти для БЫСТРОЗАЖИМА 533-9-62-25-130-1-01К 39 вы можете в компании ООО «ТрейдТрансГрупп». Запчасть подходит для спецтехники МКСМ и обеспечивает стабильную работу даже при высокой нагрузке. Предлагаем качественные комплектующие, помощь в подборе и доставку по всей России.
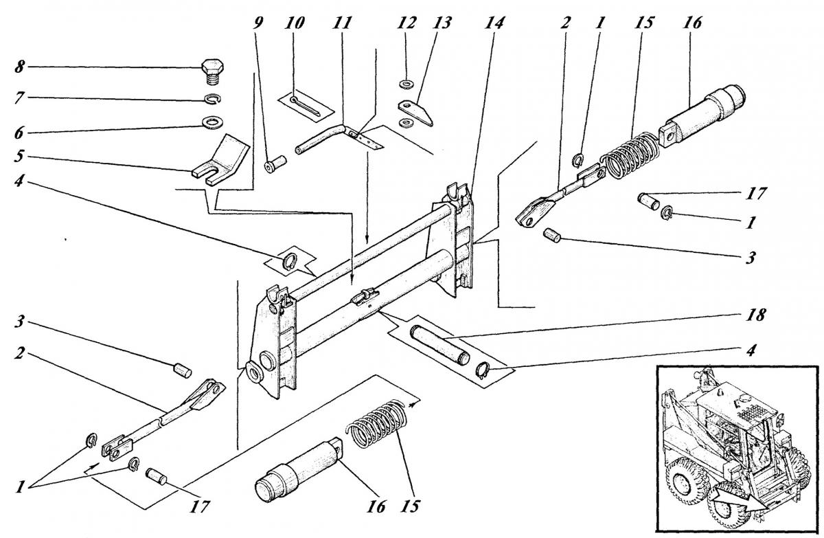
| Позиция на рисунке | Артикул | Наименование | Цена | |
|---|---|---|---|---|
| 1 | 13942 В8 Хим.Окс.прм | Кольцо | дог. | |
| 2 | 533-9-62-25-170-1К | Тяга | дог. | |
| 3 | 2.8и8х22.К207...256.НВ | Штифт | дог. | |
| 4 | 13942 В10 0118 | Кольцо | дог. | |
| 5 | 533-0-62-25-147-1К | Упор | дог. | |
| 9 | 765-49-23 | Ручка | дог. | |
| 10 | 397 5x28.019 | Шплинт | дог. | |
| 11 | 533-9-62-25-160-1К | Рычаг | дог. | |
| 13 | 533-0-62-25-186-1К | Язычок | дог. | |
| 14 | 533-9-62-25-131-1-01К | Каркас быстрозажима | дог. | |
| 15 | 533-0-14-21-139-1К | Пружина | дог. | |
| 16 | 533-0-62-25-175-1К | Палец | дог. | |
| 17 | 533-0-62-21-313-1К | Цапфа | дог. | |
| 18 | 533-0-62-25-188-1К | Палец | дог. |
