БЛОК БКУ ТМ140-82-сб109 240

Купить запчасти для БЛОКА БКУ ТМ140-82-сб109 240 вы можете в компании ООО «ТрейдТрансГрупп». Запчасть подходит для спецтехники ТМ 140 и обеспечивает стабильную работу даже при высокой нагрузке. Предлагаем качественные комплектующие, помощь в подборе и доставку по всей России.
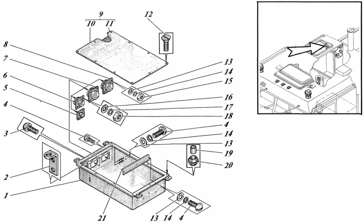
| Позиция на рисунке | Артикул | Наименование | Цена | |
|---|---|---|---|---|
| 7 | СШР48П26ЭШЗ | Вилка | дог. | |
| 8 | СШР48П20ЭШ2 | Вилка | дог. | |
| 1 | ТМ140-80-сб110 | Корпус | дог. | |
| 9 | ТМ140-82-сб115 | Крышка | дог. | |
| 10 | ТМ140-82-17 | Прокладка | дог. | |
| 11 | ТМ140-82-29 | Крышка | дог. | |
| 19 | 465-82-600 | Пистон | дог. | |
| 21 | ТМ140-82-28 | Кронштейн | дог. |
